Cylinder Head for 2016 Dodge Journey
No.
Part # / Description / Price
Price
1
Torx Head Bolt, Mounting
Mopar
Mopar Notes: Engines: 2.4L I4 DOHC 16V DUAL VVT ENGINE. 2.4L I4 E22 DOHC 16V DUAL VVT ENG.
Description: M11x1.50x165.70. With Washer. Cylinder Head To Cylinder Block
MSRP $12.00
$8.65
MSRP $12.00
$8.65
2
Torx Head Bolt, Mounting
Mopar
Mopar Notes: Engines: 2.4L I4 DOHC 16V DUAL VVT ENGINE. 2.4L I4 E22 DOHC 16V DUAL VVT ENG.
Description: M11x1.50x165.70. Without Washer. Cylinder Head To Cylinder Block
MSRP $10.35
$7.44
MSRP $10.35
$7.44
3
Flat Special Washer, Mounting
Mopar
Mopar Notes: Engines: 2.4L I4 DOHC 16V DUAL VVT ENGINE. 2.4L I4 E22 DOHC 16V DUAL VVT ENG.
Description: ID M11.50 OD 23.20 THK 3.40. Cyilinder Head To Cylinder Block
MSRP $2.15
$1.51
MSRP $2.15
$1.51
4
Engine Cylinder Head Kit, Complete 1
Mopar
Mopar Notes: Engines: 2.4L I4 DOHC 16V DUAL VVT ENGINE. 2.4L I4 E22 DOHC 16V DUAL VVT ENG.
Description: See Note For Contents
4
Engine Cylinder Head Kit, Complete 1
Mopar
Mopar Notes: Engines: 2.4L I4 DOHC 16V DUAL VVT ENGINE. 2.4L I4 E22 DOHC 16V DUAL VVT ENG.
Description: See Note For Contents
MSRP $1,135.00
$919.96
MSRP $1,135.00
$919.96
6
Double Ended Stud, Mounting
Mopar
Mopar Notes: Engines: 2.4L I4 DOHC 16V DUAL VVT ENGINE. 2.4L I4 E22 DOHC 16V DUAL VVT ENG.
Description: M8x1.25x55.00. Intake Manifold To Cylinder Head
MSRP $3.10
$2.18
MSRP $3.10
$2.18
7
Bolt, Mounting
Mopar
Mopar Notes: Engines: 2.4L I4 DOHC 16V DUAL VVT ENGINE. 2.4L I4 E22 DOHC 16V DUAL VVT ENG.
Description: M8x40. Camshaft Cap To Cylinder Head
MSRP $2.95
$2.06
MSRP $2.95
$2.06
9
Dowel, Mounting
Mopar
Mopar Notes: Engines: 2.4L I4 DOHC 16V DUAL VVT ENGINE. 2.4L I4 E22 DOHC 16V DUAL VVT ENG.
Description: Front Camshaft Cap To Cylinder Head
MSRP $2.85
$2.00
MSRP $2.85
$2.00
10
Dowel, Mounting
Mopar
Mopar Notes: Engines: 2.4L I4 DOHC 16V DUAL VVT ENGINE. 2.4L I4 E22 DOHC 16V DUAL VVT ENG.
Description: Thrust Camshaft Cap To Cylinder Head
MSRP $2.50
$1.75
MSRP $2.50
$1.75
11
Core Plug
Mopar
Mopar Notes: Engines: 2.4L I4 DOHC 16V DUAL VVT ENGINE. 2.4L I4 E22 DOHC 16V DUAL VVT ENG.
Description: Cylinder Block Coolant Drain.
MSRP $9.70
$7.02
MSRP $9.70
$7.02
14
Hex Flange Head Bolt, Mounting
Mopar
Mopar Notes: Engines: 2.4L I4 DOHC 16V DUAL VVT ENGINE. 2.4L I4 E22 DOHC 16V DUAL VVT ENG.
Description: M6X1.00X38.00. Camshaft Bearing Cap To Cylinder Head
MSRP $2.95
$2.06
MSRP $2.95
$2.06
16
Core Plug
Mopar
Mopar Notes: Engines: 2.4L I4 DOHC 16V DUAL VVT ENGINE. 2.4L I4 E22 DOHC 16V DUAL VVT ENG.
Description: 30 mm
MSRP $8.25
$5.87
MSRP $8.25
$5.87
17
Double Ended Stud, Mounting
Mopar
Mopar Notes: Engines: 2.4L I4 DOHC 16V DUAL VVT ENGINE. 2.4L I4 E22 DOHC 16V DUAL VVT ENG.
Description: M8x1.25x50.00. Throttle Body/Plate Heat Shield
MSRP $9.70
$6.96
MSRP $9.70
$6.96
18
Engine Lift Bracket, Rear
Mopar
Mopar Notes: Engines: 2.4L I4 DOHC 16V DUAL VVT ENGINE. 2.4L I4 E22 DOHC 16V DUAL VVT ENG.
MSRP $2.10
$1.51
MSRP $2.10
$1.51
19
Dowel Pin, Mounting
Mopar
Mopar Notes: Engines: 2.4L I4 DOHC 16V DUAL VVT ENGINE. 2.4L I4 E22 DOHC 16V DUAL VVT ENG.
Description: Cylinder Head To Cylinder Block
MSRP $3.10
$2.18
MSRP $3.10
$2.18
20
Double Ended Stud, Mounting
Mopar
Mopar Notes: Engines: 2.4L I4 DOHC 16V DUAL VVT ENGINE. 2.4L I4 E22 DOHC 16V DUAL VVT ENG.
Description: M10x1.25x43.80. Exhaust Manifold/Converter To Cylinder Head
MSRP $3.10
$2.18
MSRP $3.10
$2.18
21
Ball, Right Cylinder Head
Mopar
Mopar Notes: Engines: 2.4L I4 DOHC 16V DUAL VVT ENGINE. 2.4L I4 E22 DOHC 16V DUAL VVT ENG. 3.6L V6 24V VVT Engine.
Description: Oil Gallery.
25
Valve Spring Retainer Lock
Mopar
Mopar Notes: Engines: 2.4L I4 DOHC 16V DUAL VVT ENGINE. 2.4L I4 E22 DOHC 16V DUAL VVT ENG.
MSRP $2.65
$1.88
MSRP $2.65
$1.88
26
Valve Spring Retainer
Mopar
Mopar Notes: Engines: 2.4L I4 DOHC 16V DUAL VVT ENGINE. 2.4L I4 E22 DOHC 16V DUAL VVT ENG.
27
Valve Spring
Mopar
Mopar Notes: Engines: 2.4L I4 DOHC 16V DUAL VVT ENGINE. 2.4L I4 E22 DOHC 16V DUAL VVT ENG.
MSRP $3.45
$2.48
MSRP $3.45
$2.48
28
Valve Guide Seal
Mopar
Mopar Notes: Engines: 2.4L I4 DOHC 16V DUAL VVT ENGINE. 2.4L I4 E22 DOHC 16V DUAL VVT ENG.
MSRP $13.10
$9.32
MSRP $13.10
$9.32
29
Engine Intake Valve
Mopar
Mopar Notes: Engines: 2.4L I4 DOHC 16V DUAL VVT ENGINE. 2.4L I4 E22 DOHC 16V DUAL VVT ENG.
Description: Standard.
30
Engine Exhaust Valve
Mopar
Mopar Notes: Engines: 2.4L I4 DOHC 16V DUAL VVT ENGINE. 2.4L I4 E22 DOHC 16V DUAL VVT ENG.
31
Hex Flange Head Bolt, Mounting
Mopar
Mopar Notes: Engines: 2.4L I4 DOHC 16V DUAL VVT ENGINE. 2.4L I4 E22 DOHC 16V DUAL VVT ENG.
Description: M6x1.00x16.00. Oil Control Valve To Cylinder Head
MSRP $4.30
$3.09
MSRP $4.30
$3.09
32
Variable Valve Timing Solenoid
Mopar
Mopar Notes: Engines: 2.4L I4 DOHC 16V DUAL VVT ENGINE. 2.4L I4 E22 DOHC 16V DUAL VVT ENG.
Description: Exhaust
MSRP $111.00
$73.20
MSRP $111.00
$73.20
33
Cylinder Head Gasket Package
Mopar
Mopar Notes: Engines: 2.4L I4 DOHC 16V DUAL VVT ENGINE. 2.4L I4 E22 DOHC 16V DUAL VVT ENG.
Description: Includes CVVT Filter
34
Continuous Variable Valve Timing Filter
Mopar
Mopar Notes: Engines: 2.4L I4 DOHC 16V DUAL VVT ENGINE. 2.4L I4 E22 DOHC 16V DUAL VVT ENG.
Description: Mopar Continuous Variable Valve Timing (VVT) Filter (1028A025)
The Mopar Continuous Variable Valve Timing (VVT) Filter is engineered to ensure the smooth operation of your vehicle's VVT system by trapping contaminants and keeping the oil flow clean. Design ...
MSRP $9.15
$5.67
MSRP $9.15
$5.67
36
Variable Valve Timing Solenoid
Mopar
Mopar Notes: Engines: 2.4L I4 DOHC 16V DUAL VVT ENGINE. 2.4L I4 E22 DOHC 16V DUAL VVT ENG.
Description: Intake
MSRP $111.00
$71.87
MSRP $111.00
$71.87
1 This price excludes a refundable manufacturer's core charge. Add the part to your cart to see the core charge.
No.
Part # / Description / Price
Price
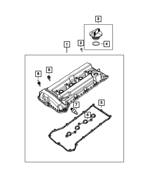
1
Cylinder Head Cover
Mopar
Mopar Notes: Engines: 2.4L I4 DOHC 16V DUAL VVT ENGINE. 2.4L I4 E22 DOHC 16V DUAL VVT ENG.
MSRP $410.00
$267.30
MSRP $410.00
$267.30
2
Pan Head Screw, Mounting, Secondary
Mopar
Mopar Notes: Engines: 2.4L I4 DOHC 16V DUAL VVT ENGINE. 2.4L I4 E22 DOHC 16V DUAL VVT ENG.
Description: M6x1.00x16.00. Timing Chain Guide To Cylinder Block
MSRP $12.35
$8.89
MSRP $12.35
$8.89
3
Oil Filler Cap
Mopar
Mopar Notes: Engines: 2.4L I4 DOHC 16V DUAL VVT ENGINE. 2.4L I4 E22 DOHC 16V DUAL VVT ENG.
Description: With 5W20 Markings. Includes Oil Ring. Includes O-Ring.
MSRP $27.30
$19.60
MSRP $27.30
$19.60
4
Oil Filler Cap O Ring
Mopar
Mopar Notes: Engines: 2.4L I4 DOHC 16V DUAL VVT ENGINE. 2.4L I4 E22 DOHC 16V DUAL VVT ENG. 3.6L V6 24V VVT Engine.
Description: Serviced With Oil Filler Cap.
MSRP $12.50
$8.89
MSRP $12.50
$8.89
5
Cylinder Head Cover Gasket
Mopar
Mopar Notes: Engines: 2.4L I4 DOHC 16V DUAL VVT ENGINE. 2.4L I4 E22 DOHC 16V DUAL VVT ENG.
MSRP $26.10
$18.94
MSRP $26.10
$18.94
6
Ignition Coil Gasket
Mopar
Mopar Notes: Engines: 2.4L I4 DOHC 16V DUAL VVT ENGINE. 2.4L I4 E22 DOHC 16V DUAL VVT ENG.
Description: Coil
MSRP $26.35
$19.12
MSRP $26.35
$19.12
7
Pcv Valve
Mopar
Mopar Notes: Engines: 2.4L I4 DOHC 16V DUAL VVT ENGINE. 2.4L I4 E22 DOHC 16V DUAL VVT ENG.
MSRP $13.85
$10.04
MSRP $13.85
$10.04
8
Special Stud And Grommet, Mounting
Mopar
Mopar Notes: Engines: 2.4L I4 DOHC 16V DUAL VVT ENGINE. 2.4L I4 E22 DOHC 16V DUAL VVT ENG.
Description: M6X1.00-6G. Cylinder Head Cover To Cylinder Head
MSRP $5.50
$3.93
MSRP $5.50
$3.93
9
Special Bolt And Grommet, Mounting
Mopar
Mopar Notes: Engines: 2.4L I4 DOHC 16V DUAL VVT ENGINE. 2.4L I4 E22 DOHC 16V DUAL VVT ENG.
Description: M6X1.00-6G. Cylinder Head Cover To Cylinder Head
MSRP $5.20
$3.69
MSRP $5.20
$3.69


